• 您好,欢迎来到弘测仪器!
  • 微信扫描二维码,随时随地与弘测亲密接触
    精彩活动,劲爆优惠触手可得!

    腾讯微博 新浪微博
正品行货弘测推荐
当前位置: 首页 > 角度测量仪器 > 经纬仪水准仪检定装置 > JQY-1A/XJQY-1A/ZJQY-1A型 高精度经纬仪水准仪检定装置
角度测量仪器
光电自准直仪 光学自准直仪 准直仪附件 准直仪软件 正多面棱体 多齿分度台 精密测角仪 比较测角仪 气浮转台 气浮平台 经纬仪水准仪检定装置 激光干涉仪
光学测量仪器
透射式平行光管 反射式平行光管 光具座 光具座附件 前置镜 光学测量仪 视度管 光学象限仪 倍率计 光学分划板 视场仪 远心镜头 反射镜 光学平晶 投影仪 光学平台 光学计 影像测量仪
高精度转台
单轴转台 双轴转台 三轴转台 跟踪转台 惯性平台 其他转台 惯性导航测试单元IMU
硬度测量仪器
显微硬度计 洛氏硬度计 布氏硬度计 维氏硬度计 布洛维硬度计 里氏硬度计 邵氏硬度计 巴氏硬度计 韦氏硬度计 超声波硬度计 肖氏硬度计 摩氏硬度计 水果硬度计 进口硬度计 石膏硬度计 铅笔硬度计 木材硬度计 硬度标准机 硬度计附件
金相制样仪器
金相试样切割机 金相试样磨抛机 金相试样镶嵌机 金相试样预磨机 金相试样抛光机 电解抛光腐蚀仪 光谱砂带磨样机 金相磨平机 标准试样 金相耗材/辅料 古莎Kulzer 端子分析仪
光学显微镜
金相显微镜 体视显微镜 生物显微镜 偏光显微镜 荧光显微镜 数码显微镜 熔深显微镜 比较显微镜 测量显微镜 干涉显微镜 光切显微镜 工具显微镜 读数显微镜 显微镜附件
工业测量仪器
轮廓仪 粗糙度仪 轮廓粗糙度 圆度仪 圆柱度仪 齿轮量仪 三坐标 柔性关节臂 测长机 测高仪 轴承量仪
材料试验机
电子万能试验机 液压万能试验机 拉力试验机 压力试验机 冲击试验机 扭转试验机 弯曲试验机 杯突试验机 弹簧试验机 疲劳试验机 端淬试验机 摩擦磨损试验机 钢绞线专用试验机 非金属材料试验机 标距仪/打点机 进口试验机 试验机夹具 推拉力计
无损检测仪器
探伤仪 测厚仪 测温仪 热成像仪 测振仪
俄罗斯Mashproject LLC
便携硬度计 磁粉探伤仪 涡流探伤仪 裂缝深度计 磁性分析仪 测厚仪 铁素体仪 设备证书
德国BAQ
超声波硬度计 洛氏硬度计 维氏硬度计 布氏硬度计 里氏硬度计 邵氏硬度计 涂层测厚仪 耐磨测试仪 粗糙度仪

浏览历史

JQY-1A/XJQY-1A/ZJQY-1A型 高精度经纬仪水准仪检定装置
prev zoom
JQY-1A/XJQY-1A/ZJQY-1A型 高精度经纬仪水准仪检定装置
经纬仪水准仪检定,计量院必备
  • 商品货号:HCECS000060
  • 商品点击数:6968
  • 用户评价: comment rank 5
  • 咨询热线:021-2096 9529 / 400-9696-970 / 136 6191 0343


商品描述:

商品属性

JQY-1A/XJQY-1A/ZJQY-1A型 高精度经纬仪水准仪检定装置


高精度经纬仪水准仪检定装置

 产品简介   Product introduction


JQY-1A/XJQY-1A/ZJQY-1A型 高精度经纬仪水准仪检定装置本仪器能在室内很方便地对光学经纬仪、电子经纬仪进行检定、测试、和维修等工作,如对经纬仪水平角测角示值误差,光学对中器的视轴与竖轴的同轴度误差及经纬仪望远镜视准轴、横轴及竖轴等轴线几何关系,对望远镜调焦运行误差等进行检测,特别是解决了对经纬仪竖盘测角示值误差的检测,从而使它能按照经纬仪国家计量检定规程(JJG414-2003)中的项目进行测试、检定。本仪器也能对水准仪 I 角、竖轴回转精度、交叉误差等项目进行检定、校准。

高精度经纬仪检定装置,是用于检定经纬仪(含光学经纬仪,电子经纬仪和全站仪测角部分)的专用装置,主要有多目标式和多齿分度台式两种结构形式:多目标式检定装置以4-6只平行光管作为水平方向无穷远目标,以不少于5个位置的平行光管作为竖直方向无穷远目标;多齿分度台式检定装置是由能产生标准角的多齿分度台和平行光管组成。

水准仪检定装置,是一种能产生一条水平准线,并可实现多目标的测量装置,该装置主要用于水准仪检定或校准。按结构可分为自动安平式和自准直式,按水平准线偏差其准确度可分为1级、2级和3级。

 

 工作原理   Working principle


本仪器采用一台立式多齿分度台、一台卧式多齿分度合、一台检调管、一台自准直光管(作平行光管用)和仪器座组成,自准直光管焦平面上有刻线分划板,通过立式多齿分度台的转动,与平行光管一起构成任意角度水平方向无穷远目标,同样,通过卧式多齿分度台的转动,也能构成任意角度竖直方向无穷远目标,因此,它能很方便地模拟各种情况,对仪器进行检定。

 

 性能特点   Performance characteristics


1、本仪器采用了卧式多齿分度台与平行光管能完成对经纬仪和水准仪各项目的检定,特别是能够实现对经纬仪竖盘可使用的全部范围进行检定,是目前国内能提供竖直角真值的装置之一。

2、采用多齿分度台作为本仪器的角度标准,使得仪器量值溯源简单,该仪器只需通用仪器(多面棱体、自准直仪),用角度计量中常用的全组合排列互比法,即可检定出仪器的不确定度,且是在工作状态下进行检定,检定后不再改变仪器状态,溯源准确、可靠。

3、仪器具有自校功能,在检测水准仪i角时,可随时对标准角进行校准,一旦失准,能随时发现,且调整方便。

4、在检定和校准经纬仪过程中,可以直接在工作台上一边校准、一边维修,不用每次都拆装,节省工作时间。

5、无需专用地基,结构紧凑,占地面积小。


本检定装置可检测内容:

一,针对《JJG 414-2011 光学经纬仪 检定规程》中7.2 检定项目 要求的检定项目表,本系列设备标配可检定项目如下:

1、经纬仪部分:

1.1)、被检经纬仪视轴高度的调整;外观及各部件的相互作用;

1.2)、水准器轴与竖轴的垂直度的检定;

1.3)、照准部旋转正确性的检定;

1.4)、望远镜十字分划板竖丝的铅垂性的检定;

1.5)、光学测微器行差的检定;

1.6)、光学测微器隙动差的检定;

1.7)、视轴相(视准轴)与横轴的垂直度的检定;

1.8)、横轴与竖轴的垂直度的检定;

1.9)、竖盘指标差的检定;

1.10)、望远镜调焦运行误差的检定;

1.11)、照准部偏心差和水平度盘偏心差的检定;

1.12)、光学对中器的视准轴与竖轴的同轴度的检定;光学对中器对中误差的检定;

1.13)、竖盘指标自动补偿误差的检定;【需选配二维微倾台才可检此项目】

1.14)、一测回水平方向标准偏差及测角示值误差的检定;

1.15)、一测回竖直角测角标准偏差及测角示值误差的检定。

二,针对《JJG 425-2003 水准仪 检定规程》中6.2 检定项目 要求的检定项目表,本系列设备标配可检定项目如下:

2、水准仪部分:

2.1)、外观及各部件功能相互作用;

2.2)、水准器角值;【本项暂不可检】

2.3)、竖轴运转误差和竖轴整置误差;

2.4)、望远镜分划板横丝与竖轴的垂直度

2.5)、视距乘常数;【本项暂不可检】

2.6)、测微器行差与回程差;

2.7)、数字水准仪视线距离测量误差;【本项暂不可检】

2.8)、视准线的安平误差;【需选配二维微倾台才可检此项目】

2.9)、望远镜视轴与管状水准泡轴在水平面内投影的平行度(交叉误差);

2.10)、视准线误差(i角);

2.11)、望远镜调焦运行误差。

2.12)、自动安平水准仪-补偿误差及补偿器工作范围;【本项暂不可检】

2.13)、自动安平水准仪-双摆位误差;【本项暂不可检】

2.14)、测站单次高差标准差;【本项暂不可检】

2.15)、自动安平水准仪磁致误差;【本项暂不可检】


设备结构:

本仪器由于使用了多齿分度台,只要一台自准直光管(以下简称光管)就能完成对经纬仪和水准仪各项目的检定,特别是对经纬仪竖盘的检定,结构紧凑,占地面积小,使用方便。

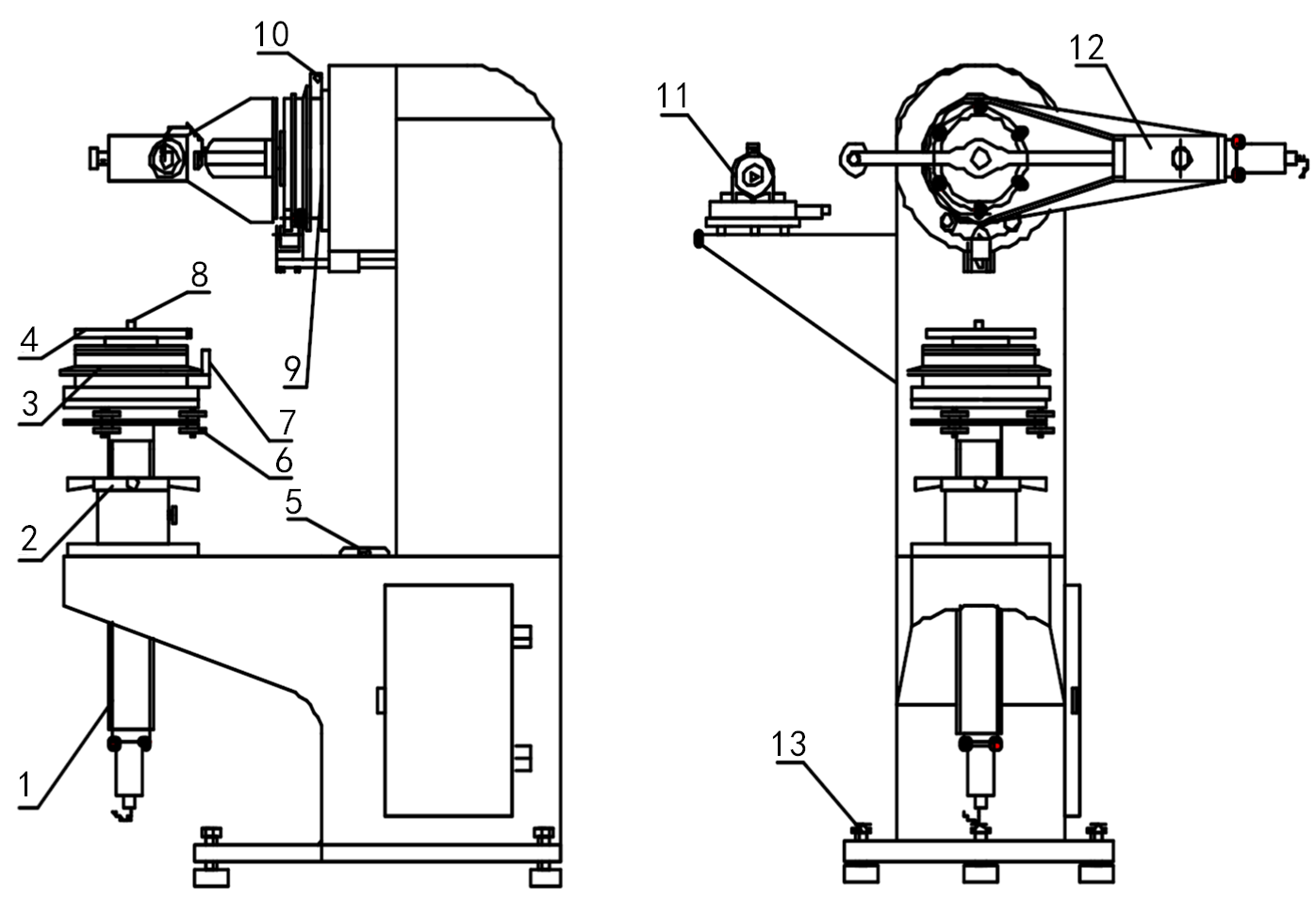
仪器外形如下图正所示,利用升降螺母2转动,使升降螺杆1带动立式多齿分度台3升降,使望远镜视轴高度不同的仪器均能在本仪器上检定;通过卧式多齿分度台9的手柄10的转动,抬起卧式多齿分度台台面,卧式多齿分度台台面转动可构成竖直方向各种角度,以满足对经纬仪坚盘的检定;通过立式多齿分度台3上的手柄7的转动,抬起立式多齿分度台台面,转动多齿分度台台面至任意角度,可获得水平方向各种角度,用来检定经纬仪水平度盘。

高精度经纬仪水准仪检定装置 结构

1一升降螺杆        2-升降螺母        3-立式多齿分度台        4一仪器工作台        5—水泡        6-微调机构        7一立式多齿分度台手柄        8一定位螺旋        9一卧式多齿分度台        10—卧式多齿分度台手柄        11一检调管及其安装座        12一自准直光管        13—底脚螺钉

 

 技术指标   Technical indicators


1、水平角标准器的示值误差≤0.3″;

2、竖直角标准器的综合示值误差≤1″;

3、水平度盘分度误差≤0.2″;

4、竖直度盘分度误差≤0.7″;

5、对中光学系统中设有0.6m及1.5m对中分划饭,其等效格值均为2mm;

6、工作高度≈1200mm,即卧式多齿分度台轴线离地面高度;

7、仪器工作台升降范围:0-300mm;

8、固定中心螺丝规格:M16及英制5/8英寸;

9、照明灯泡规格:6.3V/2.1W;

10、平行光管标称物镜焦距: f=550mm,相对孔径1:10;分划板标称格值30″/格;

11、外形尺寸:1060×920×1400mm;

12、【水准仪检定装置】多目标偏离准线误差绝对值:0.2mm;

13、【水准仪检定装置】水平准线偏差绝对值:≤3″;

14、【经纬仪检定装置】准线光管视准线的直线度:≤3″;

15、【经纬仪检定装置】平行光管分划板分度误差:名义值30″/格;分度误差≤±1″/格;

16、【经纬仪检定装置】水平目标平行光管位置正确性:≤15″;

17、【经纬仪检定装置】竖直角目标测量范围:±30°;

18、【经纬仪检定装置】竖直角高低位置目标与水平方向目标夹角的对称度:≤30′;

19、【经纬仪检定装置】水平目标定位重复性:≤0.3″;

20、【经纬仪检定装置】竖直目标定位重复性:≤1″;

21、【经纬仪检定装置】立轴多齿分度台最大分度间隔误差(FDT-552型):≤0.3″;

22、【经纬仪检定装置】竖直角标准最大分度间隔误差:≤1″;

精度指标:

1、JQY-1A 高精度经纬仪、水准仪检定装置:

1)、水平度盘分度误差≤0.2″;

2)、竖直度盘分度误差≤0.7″

3)、竖直角标准器综合示值误差≤1″;

2、XJQY-1A 细分高精度经纬仪、水准仪检定装置:

1)、水平度盘分度误差≤0.2″;

2)、竖直度盘分度误差≤0.7″

3)、竖直角标准器综合示值误差≤1″;

3、ZJQY-1A 程控高精度经纬仪、水准仪检定装置:

1)、水平度盘分度误差≤0.2″;

2)、竖直度盘分度误差≤0.7″

3)、竖直角标准器综合示值误差≤1″;

 

 标准配置   Standard configuration


1、检定装置主体:1套;                                                         

2、FDT-552F型 立式高精度精密多齿分度台(0.2″):1套;

3、WFDT-552型 立卧两用型高精度精密多齿分度台:1套;  

4、平行光管支架:1套;

5、550mm标准平行光管:1套;                                            

6、高精度检调管:1套;

7、定位螺旋(公制、英制):各1套;                                  

8、主轴升降系统:1套;

9、调平地脚螺钉:3套;                                                       

10、光管锁紧装置:1套;

11、使用说明书:1份;                                                         

12、产品合格证:1份;

13、产品保修卡:1份;


 使用方法   Use


1、仪器的正常工作条件:

室内温度15~30℃,相对湿度不大于65%,电源电压220士20V,应安装在离振动源较远、稳定性良好的地基上,仪器必须经过现场检验,合格后方可投入使用。

2、被检经纬仪的安置及其视轴高度的调整:

将被检经纬仪旋在图1所示工作台4的定位螺旋8上,转动升降螺母2升降工作台,把经纬仪望远镜视准轴与平行光管光轴调到大致等高后锁紧升降螺杆。旋转照准部使长水泡与立式多齿分度台下的两支承螺钉的连线平行,调节经纬仪脚螺旋使水泡居中,固定照准部。然后,转动立式多齿分度台的手柄,使立式多齿分度台上、下齿盘脱开啮合,上齿盘旋转180°后,啮会上、下齿盘,看经纬仅长水泡是否居中,若不居中,调整立式多齿分度台底部的微调机构6,使水泡移动偏差的一半,调整经纬仪脚螺旋使长水泡居中,再使上齿盘旋转180°,看长水泡位置是否不变,若改变,重复以上操作;上齿盘旋转90°,调整经纬仪脚螺旋使长水泡居中,上齿盘旋转180°,啮合上、下齿盘,看长水泡位置是否改变,若改变,调整调整立式多齿分度台底部的微调螺母6,使水泡移动偏差的一半,调整经纬仪脚螺旋使长水泡居中,上齿盘再旋转180°,看水泡位置是否改变。以上过程需反复调整至上齿盘在任意位置与下齿盘啮合,长水泡位置均不变。这说明立式多齿分度台旋转轴与大地水平而垂直。

然后,按经纬仪检定规程要求,精确整平经纬仪,这样即完成安置。

以下叙述的各项检定、测试等工作时,被检经纬议均应按上述步骤正确安置,其视轴高度一般也应先调整好;各锁紧螺钉均应在锁紧状态,以下就不再重复叙述。

3、水准器轴与竖轴的垂直度的检定

将被检经纬仪精确整平,旋转照准部使其管状水准器与任意两脚螺旋连线平行,调整脚螺旋使水准器泡精确居中,旋转照准部180°,观察气泡位置,取气泡位置偏移量的一半为垂直度偏差。

4、照准部旋转正确性的检定

将经纬仪精确整平,使竖轴铅垂,读取照准部上的管状水准器水准气泡两端读数;顺时针方向旋转照准部,每隔45°读取水准气泡一次,顺时针方向进行两周检定。

逆时针方向旋转照准部,每隔45°读取水准气泡一次,共进行两周检定。

取每一周中对径位置读数的平均值,取四周检定中最大与最小之差为照准部旋转正确性。

5、望远镜分划板竖丝的铅垂度的检定

在你被检经纬仪4m左右处悬挂一锤球,其悬丝必须细直,锤球浸在油或水内,以防摆动。 

精确整平经纬仪,观察分划板竖丝是否与锤球悬丝平行,使竖丝上端与垂线影像重合。观察竖丝下端,不应有目力可见的不重合现象。

望远镜分划板坚丝的铅垂度也可用目标平行光管检定,用经纬仪横丝和竖丝的交点,沿目标平行光管横丝从视场左边走到右边,不应有目力可见的偏离。

6、光学测微器行差的检定

按检定规程操作即可,无需特殊调整

7、光学测微器隙动差的检定

按检定规程操作即可。

8、视轴相与横轴的垂直度的检定

精确整平经纬仪,以盘左位置瞄准光管分划板十字丝中心,固定照准部,望远镜纵转180°,卧式多齿分度台转动180°,用竖丝中心位置在光管分划板横丝上读取格值b1;卧式多齿分度台转回原位,以盘右位置重复上述操作,读取格值b2,由下式计算出它的误差:

式中: c-----垂直度误差(″)

t-----光管分划板横丝格值(30″)

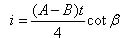
9、横轴与竖轴的垂直度的检定

将经纬仪精确整平后,卧式多齿分度台转到离水平30°(或45°)位置,望远镜以盘左位置向上瞄准光管分划板十字中心;卧式多齿分度台转到离水平-30°(或-45°)位置,望远镜向下转动,在光管分划板的横丝上读取格值A;再以盘右位置重复上述操作,读取格值B,此为一测回,利用下式进行计算:

式中:t-----光管分划板格值(30″);

   β-----光管位置与水平方向夹角(30°或45°)

这一检定应不少于3个测回,取平均值为最后结果。

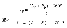
10、竖盘指标差的检定

精确整平仪器,以盘左位置用望远镜分划板十字丝横丝瞄准光管分划板十字丝中心,读取竖直度盘读数,取两次读数的平均值L;望远镜翻转180°,旋转照准部,以盘右位置重复上述检定,取两次读数的平均值R(对带有竖直度盘指标水准泡的仪器,每次读数前均需将该水准泡精确置平);用下式可计算出竖直度盘指标差I(秒);

11、望远镜调焦运行误差的检定

将经纬仪安置在检定台上,精确整平仪器;转动仪器照准部,瞄准检调管无穷远分划板,再转动检调管调整手轮至最短视距,调焦经纬仪使检调管目标十字线分划板清晰,看经纬仪十字丝与检调管十字丝是否重合,若不重合,左右位置调整检调管工作台千分螺丝,使两十字线竖丝重合;上下位置升降立式多齿分度台,使两十字线横丝重合(此时各锁紧螺钉均应固紧,经纬仪精确整平)。上述操作应反复进行至无穷远及最短视距时两十字丝中心均重合。

经纬仪以盘左位置从最短视距到无穷远对各目标逐个瞄准,并读取水平角读数,再从无穷远到最短视距进行上述检定作为返测,取各点往返测读数的平均值Li。

以望远镜盘右位置重复上述检定,取平均值Ri;

视轴各点的照准差按下式求得:

望远镜调焦运行误差按下式计算:

取ΔCi绝对值最大值为检定结果。

若要求更高检定精度,则将检调管绕其光轴旋转180°,重复上述操作,取两次结果的平均值为最终结果。

12、照准部偏心差和水平度盘偏心差的检定

按照检定规程操作即可。

13、光学对中器的视准轴与竖轴的同轴度的检定

固定经纬仪的仪器座,调整经纬仪三底脚螺钉,使光学对中器分划板中心与升降螺杆中0.6m和分划板中心重合,转动照准部,观测距经纬仪0.6m处分划板上的最大变化量;再调整经纬仪三底脚螺钉,使光学对点器的视轴与升降螺杆中1.5m处分划板中心重合,转动照准部,观测距经纬仪和1.5m处分划板上的最大变化量。取上述检定所得的最大变化量绝对值的一半为检定结果。

14、竖盘指标自动补偿误差的检定

将附件微倾工作台安装在仪器工作台上,将经纬仪安置在微倾工作台上,使经纬仪望远镜与平行光管视轴等高,整平经纬仪。

以平行光管分划板十字丝为目标,调整微倾状态,使经纬仪先后处于5个状态(经纬仪竖轴位于铅垂、前倾、后倾、左倾、右倾2′的整置状态为i=1、2、3、4、5)。每个状态进行两个测回(测回号j=1、2)。读取竖直度盘读数正、倒镜读数Lij、Rij,得各状态正、倒镜读数平均值Li、Ri。计算各状态的天顶距或竖盘指标差:

式中:Zi-----第i状态的天顶距;

Ii-----第i状态的竖盘指标差。

以竖轴铅垂时天顶距和竖盘指标差读数为基准,按下式计算天顶距和竖盘指标差变化量:

式中:ΔZi-----第i状态的天顶距变化量;

ΔIi-----第i状态的竖盘指标差。

取ΔZi(或ΔIi)的绝对值最大值为检定结果。

若无此附件,也可通过检定整置工作台下微调机构6升降来实现5个状态。

15、一测回水平方向标准偏差及测角示值误差的检定

精确整平仪器后,对经纬仪进行水平方向角观测,其测目数及各测回水平度盘的整置按检定规程要求执行。

立式多齿分度台置于0°,转动照准部照准光管目标,转动度盘变换钮置水平度盘于0°,顺时针方向旋转照准部一周,盘左位置将经纬仪瞄准光管,读数两次,立式多齿分度合按预先布点逆时针方向旋转至第2检定位置,经纬仪照准部以顺时针方向旋转并照准光管目标,读数两次。以同样的方向检定3,4,…,n位置,最后回到零位。回零读数不参与测回水平方向标准偏差计算,回零差超过规程要求时需重做该测回。

望远镜翻转180°,逆时针方向旋转照准部照准目标,盘右位置读数两次,立式多齿分度台顺时针方向转到第2检定位置,经纬仪照准部以逆时针旋转照准目标,进行第2位置检定。以同样的方向检定3, 4,…, n位置,最后回到零位。

各受检点的分度误差φij按下式求得:

φij=ij-ai0-a

式中:aij-----各受检点读数;

ai0-----零位读数;

a标-----多齿分度台标准角值。

各受检点的方向误差:

(i=1、2,j=1、2、3、…、n)

 

一测回水平方向标准偏差按下式求得:

式中 m-----测目数

 n-----受检点数

φij最大值和最小值之差为测角示值误差:

16、一测回竖直角标准偏差及测角示值误差的检定

这一检定接检定规程规定,在度盘范围内,取大致均布的6~12个位置(或根据需要取更多点数),必须包括卧式多齿分度台90°位置,建议每10齿做一测点,在90°正、负各取5点,即 57°23′28.7″、63°54′46.96″、70°26′5.22″、76°57′23.48″、83°28′41.74″、 90°、96°31′18.26″、103°2′36.52″、109°33′54.78″、116°5′13.04″、122°36′31.3″十一个目标,卧式多齿分度台转过一个角度,经纬仪瞄准目标,进行盘左和盘右观测。在每一位置观测时,得观测值Lij、Rij。在每一位置观测时,读数两次取平均值。

竖盘指标差按下式计算:

于是可求出各目标观测值aij

式中:aij———各受检点读数;

ai0———卧式多齿分度台90°时观测值;

a标——— 卧式多齿分度台标准角值。

各受检点的方向误差:

一测回竖直方向标准偏差按下式求得:

式中 m——测目数

n——受检点数

水准仪检定方法:

1、竖轴运转误差和竖轴整置误差

将水准仪安置在工作台上,使望远镜视轴方向与任意两个脚螺旋位置平行,整置气泡居中(吻合),将望远镜旋转180°,若气泡偏离,分别, 用微倾螺旋和脚螺旋各调一半,再将望远镜转至90°位置,用另一只脚螺旋使水泡居中,反复上述操作,直至准确整平水准仪,然后每隔约45°转动望远镜,观察气泡每一位置的偏移量,共转两周,取最大量作为检定结果。

在竖轴运转误差检定后,观察水准仪上直交型或圆水准泡是否居中,水准仪旋转至任一位置时,该水准器的最大偏移量为竖轴整置误差

2、望远镜分划板横丝与竖轴的垂直度

水准仪固定在工作台上,瞄准目标平行光管十字丝交点,转动水准仪水平微动手轮使光管十字丝交点沿望远镜分划板横丝一端移至另一端,在光管竖丝上读取偏移量ε,则垂直度μ按下式计算:

式中: ε————目标光管上读数,(″)

2ω————望远镜视场角,(°)

 

3、望远镜视轴与管状水准泡轴在水平面内投影的平行度(交叉误差)

1一目标自准直光管     2一被检水准仪A.B、C三个脚螺旋

水准仪安置在仪器上,使B、C两脚螺旋的连线垂直于视轴如图2,固定并整平仪器,水准仪瞄准自准直光管,管状水泡符合,以水准仪横丝在光管分划板上读数d1,用B、C两脚螺旋以相反方向转动,在水准仪目镜中观察到分划板如图3,即水准仪横丝与分划板横丝刻度70格处相交,与分划板坚丝相交在1.8格处,表明水准仪整体绕望远镜轴旋转约1.5°。符合管状水泡,以水准仪横丝在光管分划板上读数d2。

按上述操作方法,使仪器向另一侧旋转1.5°,得读数d3和d4。

管状水准泡偏离居中位置β与仪器交叉误差E的计算式如下:

4、视准线误差(i角)

水准仪安置在仪器上,整平后瞄准光管分划板,管状水泡符合,以水准仪横丝在分划板竖丝上读数d1(带正负号,格),卧式多齿分度台转180°,望远镜旋转180°,瞄准光管分划板,同样读数d2,i角计算式如下:

5、望远镜调焦运行误差

水准仪固定在仪器上,检调管调焦至无穷远位置,整平水准仪,照准检调管,使水准仪十字丝与目标分划饭十字丝重合;将检调管调至近点,水准仪调焦至近点,若两十字丝不重合,上下通过升降工作台调整,左右通过检调管工作台上微调丝杆调整,如此反复操作,直至检调管无穷远和近点目标均在水准仪十字丝交点为止。

水准仪近点到无穷远点依次将望远镜调焦至检调管各点目标十字线清晰,看分划中心与检调管是否重合,如不重合,左右方向通过检调管微调丝杆读取误差,上下方向通过与水平方向对比估出误差。再由无穷远点到近点重复上述操作,取各点往返两次读数的平均值A;。

调焦时视轴的变动误差按下式计算:

取Wi绝对值最大值为检定结果。

若要求更高检定精度,则将检调管绕其光轴旋转180°,重复上述操作,取两次结果的平均值为最终结果。

注:若有附件平板测微器,则此项检测可在平板测微器上读数。


 注意事项   Precautions


1、仪器在使用过程中,禁止在卧式多齿分度台上的自准直光管及平衡支架上放置物品;限位装置是用来防止超过极限工作位置,不得撞击,卧式多齿分度台在转动过程中,应避免与立式多齿分度台和经纬仪相碰,以免影响仪器精度或造成仪器损坏。

2、多齿分度台在使用过程中,必须注意只有在手柄旋转180°,即上、下齿盘完全脱离啮合时,才能转动;在转动过程中,禁止旋转手柄,以免碰坏齿盘,影响精度;只有在齿盘转动到位,刻度线与指标线对准,用手扶住齿盘刻度圈,转动手柄,使齿盘轻轻啮合,应避免撞击。当转动手柄啮合齿盘感觉有阻力时,不能强行啮合,应反转手柄,让齿盘转动微小角度后,再啮合,否则会损坏齿盘。

3、仪器上所有螺钉,未经许可,不得随意拆卸,以免影响仪器精度。





弘测官方微信  

劲爆优惠,触手可得!

官方客服中心
  400-9696-970
  13661910343
  021-20969529
  honc@honc17.com
  
关于我们 | 资讯动态 | 合作伙伴加盟 | 技术服务 | 资料下载 | 人力资源 | 帮助中心 | 联系我们